加密市场再度被一位神秘巨鲸点燃话题。这位被称为“100%胜率”的传奇交易员,在10月28日再次精准加仓41.68枚BTC(约477万美元),并同步撤单,疑似完成阶段性布局。数据显示,他当前持有超过2083枚比特币与4.7万枚以太坊,总仓位高达4.33亿美元。从10月中旬至今,他几乎每次买入都踩在市场低点,被业内视为“逆势风向标”。在市场情绪反复无常的当下,这位巨鲸的动向,正成为投资者判断行情的重要信号之一。

一、闪电崛起:解剖巨鲸的十月战绩
在加密货币市场,每一位“巨鲸”的交易动向都备受关注,但这位交易员在10月份的一系列操作仍令人惊叹。通过精准的多空切换和时机把握,他成功抓住了市场波动的每一个节拍。
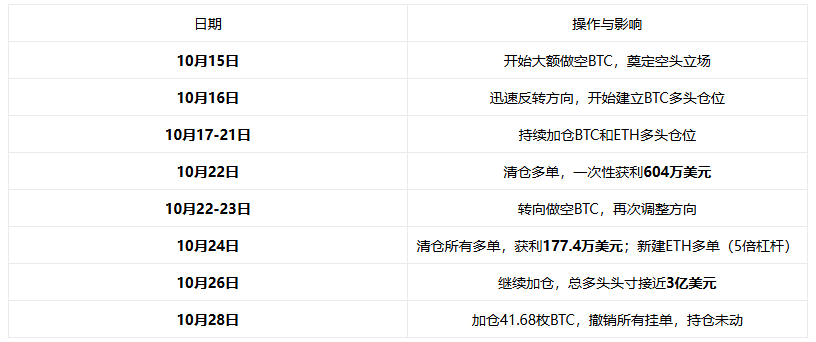
根据其公开的链上操作记录,我们梳理出他在10月份的关键操作时间线:

● 这位巨鲸的操作风格以灵活切换和多空双吃著称。他并不固执于单一方向,而是根据市场变化迅速调整策略。例如在10月22日,他清仓多单获利604万美元后,随即转向做空,展示了其敏锐的市场嗅觉。
● 在仓位管理上,他善用限价单预设入场点,有效控制建仓成本。同时,他敢于在关键数据公布后持仓不动,显示出对自身判断的极度自信和强大的风险承受能力。
二、神话背后:巨鲸策略的多维解读
这位“100%胜率巨鲸”的操作并非单纯的赌博,而是有一套明显的策略逻辑。
● 其核心是高杠杆叠加巨额仓位,通过引导市场情绪和自我实现的预言,创造出有利于自己的短期趋势。
在3月份的一次操作中,他利用50倍高杠杆,在短时间内建立巨额多头仓位,将行情朝着有利于自己的方向引导。
● 当仓位出现大额浮动盈利时,他果断将浮盈转化为实盈——通过提走保证金中的盈利部分乃至本金,使这些资金脱离交易所风险。这种操作实质上是在不平仓的情况下“锁定”了收益。
由于Hyperliquid的HLP保险库会在清算价承接仓位,巨鲸相当于以清算价卖出了其余仓位,且不必担心市场抛压带来的滑点损失,而这些损失最终都由HLP基金承担。
● 与另一位著名巨鲸“麻吉”在10月11日暴跌中爆仓1256万美元形成鲜明对比,这位100%胜率巨鲸的风险控制显得更为精细。“麻吉”在爆仓后不得不改为小额开仓,累计向Hyperliquid仅转入185万美元,当前地址仅余113万美元。
三、市场影响:巨鲸引发的链上博弈
这位100%胜率巨鲸的大额操作不仅影响了市场情绪,更在链上引发了实实在在的多空博弈。他的巨额多头仓位已在Hyperliquid平台上形成了明显的市场偏向,吸引了大量跟风者。
● 在当前这轮多头行情中,从10月25日开始,出现了一个明确的对手盘,持续加仓BTC空单与巨鲸进行对抗截至10月26日,该对手盘的空单浮亏一度升至185万美元。这清晰地表明,市场对后市的走势存在巨大分歧。
● Hyperliquid平台本身也成为这种巨鲸博弈的受益者和风险承担者。在10月11日的暴跌行情中,据链上分析师@mlmabc分析,一位做空巨鲸在Hyperliquid上的单日盈利约1.9亿~2亿美元。与此同时,Hyperliquid的HLP单日利润高达4000万美元,年利率飙升至190%,总体资本回报达10-12%。
但这种高回报也伴随着高风险。当巨鲸们采取极端操作时,HLP保险库可能承担巨额损失。在3月份的一次事件中,一位巨鲸通过提取大部分本金和利润,主动推高清算价,使剩余仓位极易触发清算。

四、风险暗涌:全胜纪录下的潜在危机
尽管这位巨鲸至今保持着100%的胜率,但其操作中潜藏着多种风险,市场都在猜测“那一次”失败何时会到来。
高杠杆的双刃剑
● 巨鲸频繁使用5倍至12倍的高杠杆来放大收益,但这在高波动性的加密货币市场中是一把双刃剑。一旦市场出现预期外的反向剧烈波动,高杠杆仓位极易面临清算风险。
● 在加密交易世界中,大量利润和灾难性损失的故事并不新鲜。即使是知名交易者如“麻吉”,也在10月11日的市场大跌中损失了惊人的1256万美元本金。
交易所机制风险
● 中心化交易所确切知道交易者的清算点在哪里,而市场制造者可能利用这些数据。流动性低的情况下,强行价格变动所需的条件并不多。该动作清算大型头寸,强制资产以底价出售。同样的实体然后以低价购买这些资产——并从反弹中获利。这种战术被称为清算狩猎——在加密界非常常见。
● 詹姆斯·温的1亿美元清算事件就暴露了这一风险——突然的价格蜡烛出现在一个交易所上,刚好足以清算他的头寸,而没有其他交易所显示出类似的动作。
跟风者的现实困境
● 对于普通投资者而言,跟单巨鲸操作面临诸多挑战。由于信息不对称和时间差,当散户看到巨鲸操作时,往往已经错过最佳入场点。
● 更重要的是,由于这位巨鲸的开仓点位较高,目前跟单其操作的地址已经出现84.6万美元的浮亏。这清楚地表明,即使是“100%胜率”的标签,也无法保证后续每一次操作都能盈利。
五、未来展望:巨鲸时代何去何从
这位“100%胜率巨鲸”的未来操作及市场影响,有几个关键点值得持续关注:
持仓变化与平台应对
● 接下来需要密切关注该巨鲸是否会继续加仓还是开始减仓。他最近撤销所有挂单的举动可能预示着新策略阶段的开始。
● 同时,Hyperliquid等交易平台也可能针对巨鲸们的操作策略调整规则。在3月份事件后,Hyperliquid虽然调整了规则,但被业内视为权宜之计,未能解决根本问题。
市场整体流动性
● 不仅是这位巨鲸,整个加密市场都面临来自更广泛金融市场的风险。根据摩根大通的研究,AI相关企业债务规模已超越传统银行业,跃居投资级债券指数最大类股,占比达14%,负债总额破1.2万亿美元。
● 这一趋势引发市场对信贷泡沫的警觉,分析師警告,若AI领域出现典范转移,其信贷崩溃冲击恐甚于股市暴跌。这种宏观风险可能通过机构投资者的资产配置调整,间接影响加密货币市场的流动性和稳定性。

市场参与者都在密切关注这场高风险博弈的结局。一位链上观察者指出:“当他赢的时候,全世界都看到;但如果他输,那可能是一瞬间的事,等我们注意到时,早已结束。”
BTC

交易所
交易所排行榜
24小时成交排行榜
人气排行榜
交易所比特币余额
交易所资产透明度证明
去中心化交易所
资金费率
资金费率热力图
爆仓数据
清算最大痛点
多空比
大户多空比
币安/欧易/火币大户多空比
Bitfinex杠杆多空比
ETF追踪
索拉纳ETF
瑞波币ETF
比特币持币公司
加密资产反转
以太坊储备
HyperLiquid钱包分析
Hyperliquid鲸鱼监控
大额转账
链上异动
比特币回报率
稳定币市值
期权分析
新闻
文章
财经日历
专题
钱包
合约计算器
账号安全
资讯收藏
自选币种
我的关注