回顾2009到2024年,比特币的价格历程几乎就是一部金融传奇。从最初几乎一文不值,到后来突破6万、10万美元的高点,它经历了无数次泡沫、崩盘与重生。每一轮牛市背后都有新的叙事——从“去中心化货币”到“数字黄金”,再到如今被机构和国家级资金接纳的“全球资产”。与此同时,减半周期、政策监管、宏观经济走势都在推动或压制着它的价格起伏。十五年过去,比特币早已不只是极客的实验品,而成为全球金融体系中不可忽视的力量,见证了从边缘到主流的惊人蜕变。

影响比特币价格的因素
以下是一些影响加密货币价值的因素:
1、供需:供需的基本原理在确定比特币价格方面至关重要。由于协议将比特币的供应限制在2100万枚,需求波动可能导致价格波动。投资者兴趣、采用率和宏观经济条件等因素会影响需求,而挖矿难度调整会影响市场中新供应的速度。
2、其他加密货币的竞争:比特币面临来自多种替代加密货币的竞争。新区块链项目的出现,提供不同的功能和使用案例,可能会分散投资者的注意力和资金。
3、减半事件:比特币的供应发行被编程为每四年左右经历一次减半事件,减少新币的产生速度。这些减半事件强制执行稀缺性,类似于黄金的开采。历史上,减半事件由于供应增长减少和稀缺性增加的预期,往往伴随价格上涨。
4、新比特币证券的引入:与比特币相关的投资工具和金融产品的引入,如交易所交易基金(ETF)、期货合约和机构级托管解决方案,可能会影响其价格动态。这些产品为传统投资者提供了无需直接持有基础资产即可获得比特币敞口的途径。
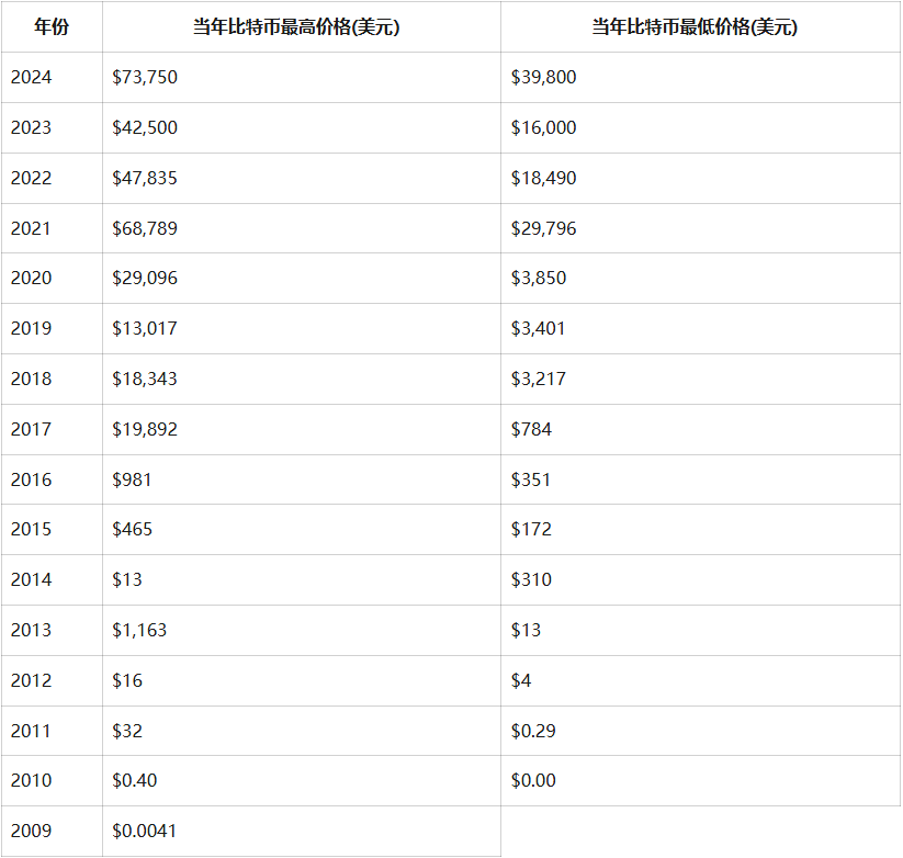
比特币价格历史(2009-2024)
随着时间的推移,比特币作为交换媒介得到了广泛接受,但其历程中经历了不少起伏。让我们来看看比特币多年来的价格变化:

2009-2015年的比特币价格历史
● 2009年,比特币的价值几乎可以忽略不计,早期交易建立了非正式的估值。
● 到2010年,第一个记录在案的市场价格出现,每枚比特币约值$0.003。
● 2011年,价格出现大幅波动,从超过$1上涨到年中约$0.30,再到年终的$31。
● 2012-2013年,比特币稳步上涨,2013年11月突破$1,000。
● 然而,2014年带来了熊市,由于各种因素,包括监管担忧和安全漏洞,价格降至年终约$300。
● 2015年,比特币在$200至$500之间交易,反映了日益增长的主流接受度。
2016-2020年的比特币价格历史:
● 2016年,比特币从约$430起步,到年终达到约$970,显示出稳步增长。
● 2017年显得格外显著,比特币价格从年初的约$970飙升至12月的近$20,000,标志着前所未有的牛市。
● 然而,2018年市场大幅回调,比特币价格年底降至约$3,200。
● 2019年,比特币价格恢复,到年底回升至约$7,200。
● 2020年,在COVID-19大流行中,比特币价格表现出韧性,大部分时间在$5,000至$10,000之间波动,年底约为$29,000。
2021-2024年的比特币价格历史:
● 2021年,比特币价格从约$29,000飙升至4月的超过$60,000,受机构采用推动。然而,价格在$30,000至$60,000之间波动,年终约为$46,000。
● 2022年,价格在$30,000至$50,000之间波动,受监管和环境问题影响,年底约为$45,000。
● 2023年,价格在$40,000至$60,000之间波动,年底约为$55,000。
● 2024年1月,经过长时间的争论,比特币现货ETF最终获得批准,触发了经纪公司积极增加持有量,而Grayscale的比特币信托(GBTC)等产品则出现了明显的资金流出。
● 到3月,特定基金的资金流出放缓,市场恢复了稳定。
● 在批准资金后,比特币价格迅速上涨。在2月末和3月初,它再次突破$60,000,3月6日达到$69,210,3月8日达到$70,184。牛市势头持续,3月14日比特币再次创下纪录,中午达到$73,805.27。
影响比特币价格的重大历史事件
以下是一些影响比特币价格的重大事件:
● 创世区块创建(2009):比特币的历程始于2009年1月3日的创世区块挖矿,这标志着世界上第一个加密货币的诞生。
● 早期采用者购买(2010):2010年5月,程序员Laszlo Hanyecz用10,000比特币购买了两张披萨,这是首次记录的现实世界交易,称为“比特币披萨日”,展示了比特币作为交换媒介的实用性和价值。
● Mt. Gox黑客事件(2011):2011年6月,当时最大的比特币交易所Mt. Gox遭遇重大黑客攻击,约850,000枚比特币被盗,价值4.5亿美元。这一事件动摇了新兴加密市场的信心,导致比特币价格下跌。
● 丝绸之路关闭(2013):2013年10月,FBI查封了臭名昭著的比特币非法交易平台丝绸之路,导致比特币需求的主要来源被移除,价格短期下跌,并伴随监管不确定性和负面媒体报道。
● 比特币的首次牛市(2013):2013年底,比特币经历了首次重大价格飙升,突破每枚$1,000。此轮上涨由日益增长的主流关注、媒体报道、投机交易活动和某些司法管辖区的有利监管发展推动。
● 中国禁止比特币交易所(2017):2017年9月,中国宣布禁止加密交易所和首次代币发行(ICO),引发市场大规模抛售。中国的监管打击和对ICO诈骗及市场操纵的担忧导致比特币价格下跌。
● 比特币牛市与机构采用(2020-2021):从2020年底到2021年,比特币经历了显著的牛市,价格突破$60,000。此轮上涨由多个因素推动,包括机构采用增加、公司财务投资和比特币作为价值储存和通胀对冲工具的主流接受度提高。
● 特斯拉的比特币投资(2021):2021年2月,特斯拉宣布购买了价值15亿美元的比特币,并接受比特币作为其产品的支付方式。这一世界知名公司背书进一步提升了比特币作为机构级资产的合法性,导致价格飙升。
● 比特币ETF推出(2024):2024年,期待已久的比特币交易所交易基金(ETF)的推出标志着主流加密货币采用的里程碑。继监管批准和投资者对比特币投资工具的需求增加后,几家金融机构推出了比特币ETF,使投资者通过传统券商账户获得数字资产敞口。比特币ETF的推出为零售和机构投资者提供了便捷且受监管的比特币投资方式,进一步确立了其作为资产类别的地位。
BTC

交易所
交易所排行榜
24小时成交排行榜
人气排行榜
交易所比特币余额
交易所资产透明度证明
去中心化交易所
资金费率
资金费率热力图
爆仓数据
清算最大痛点
多空比
大户多空比
币安/欧易/火币大户多空比
Bitfinex杠杆多空比
ETF追踪
索拉纳ETF
瑞波币ETF
比特币持币公司
加密资产反转
以太坊储备
HyperLiquid钱包分析
Hyperliquid鲸鱼监控
大额转账
链上异动
比特币回报率
稳定币市值
期权分析
新闻
文章
财经日历
专题
钱包
合约计算器
账号安全
资讯收藏
自选币种
我的关注